瑞安市天蓝环保设备官方网站
扫一扫立即查看新闻资讯
-
2025-04-23关风机天蓝环保百科:一、关风机概述:关风机又称为锁气阀、卸料阀,主要应用于食品、医药对卫生要求高的场合。也应用于一些物料更换频繁,要求避免交叉污染的系统中的供卸料。操作方便,易于快速清理,不留死角。二...
-
2024-08-27使用星型卸灰阀的优点有哪些?星型卸灰阀作为一种重要的卸料装置,广泛应用于各个工业领域。以下是其主要的优点:1. 高效的分离能力和稳定的性能星型卸灰阀具有高效的分离能力,尤其对于颗粒状物料(如小麦、稻谷、谷...
-
2025-05-16关风机结构紧凑避免物料卡死情况关风机具有紧凑的结构,其胶带磨损量小,能够延长胶带输送机的寿命。关风机的电动推杆及自动锁紧具有双向保险系统,使得关风机工作能够平稳灵活地进行。 关风机还能避免物料卡死的...
-
2024-08-23关风机的优点有哪些?关风机作为一种重要的机械设备,在多个行业中发挥着重要作用。以下是关风机的一些主要优点:1. 结构紧凑,体积小,重量轻关风机采用行星旋转原理,输入输出轴在同一轴线上,具有与电机直接连接的...
-
2024-08-26旋转阀的工作原理是什么?旋转阀是一种重要的工业设备,广泛应用于气力输送系统和各种物料的供卸料过程中。其工作原理主要体现在以下几个方面:1、结构组成旋转阀主要由带有数个叶片的转子、壳体、密封件以及电动机、...
-
2024-08-21旋转阀的优点有哪些?旋转阀作为一种的控制装置,广泛应用于工业领域,它具有简单可靠、易于操作和作动灵敏等特点,因此被广泛应用于各类流体系统中。以下是旋转阀的一些主要优点:1. 严密切断和良好的流通能力旋转阀...
-
2024-08-22关风机的应用范围有那些?关风机作为一种重要的机械设备,因其独特的工作原理和结构特点,被广泛应用于多个领域。以下是关风机的一些主要应用范围:1 化工行业.在化工行业中,关风机常用于输送和接收各种化学原料,如...
-
2024-08-02关风机又称为锁气阀、卸料阀,主要应用于食品、医药对卫生要求高的场合。也应用于一些物料更换频繁,要求避免交叉污染的系统中的供卸料。操作方便,易于快速清理,不留死角。关风机设计特点:1、壳体及主要零部件采用...
-
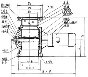
2024-08-05关风机示意图:天蓝环保关风机(分铸铁及不锈钢二大类)于减速机(摆线针轮减速机和行星齿轮减速机)组合而成的新一代关风机系列。特点:结构紧凑,外型美观,机械效率高,传动平稳,噪声低,使用可靠,安装、维修方...
-
2024-07-30旋转阀又称为旋转给料阀或卸料器,是除尘设备排灰、送风及其他设备给料的主要设备,适用于粉状物料和颗料状物料。旋转阀工作原理:旋转阀分普通型、耐压型、耐高温型三大类。卸料器可以以匀速驱动,按照控制速率连续...
-
2024-07-31旋转阀的特点有哪些?今天天蓝小编跟大家说说:1、旋转阀通过采用行星转动原理,输入输出在同一轴线上,而且有与电机直联一体的独特性,因而结构紧凑造型美观新颖、体积小、重量轻.2、旋转阀运转可靠平稳、噪音低、故障...
-
2024-01-11关风机的安装需要注意哪些事项?今天天蓝环保小编跟大家说说:1、在安装脚板或机架应保持平正,如绕曲不平必须找正或垫平,方可禁固螺栓。2、使用前应撬离保护套用活动扳手转动叶轮轴,待叶轮轴转动灵活方可使用,切忌...
-
2024-01-11关风机分类及其特点:关风机也称为卸料器、旋转给料器、旋转阀,是由带数片叶片的转子叶轮,壳体,密封件及减速机,电动机等组成。关风机结构紧凑,外形美观,机械效率高,传动平稳,噪音低,易于安装调试,广用于碾米,制...
-
2024-01-11星型卸料器在安装之前需要考虑的问题有哪些?星型卸料器常用在力气输出系统中,关于压力输出系统或负压输出系统,星型卸料器以均匀,接连地向输料管供料,以确保力气输出管内的气,固体比较稳定,从而使力气输送能正常作...
-
2024-01-11盘点旋转阀有哪些特性和特点?旋转阀又称为:旋转给料阀、星形给料器、星形卸料阀、星形卸料器、回转阀等,旋转阀特性:在多种场合中作均匀出料或均匀加料装置,用于混合机锥形料仓、干燥机、旋风分离装置等。旋转阀特点:...











浙ICP备16043010号-4