瑞安市天蓝环保设备官方网站
扫一扫立即查看YJD-HX型卸料器产品阐述:
卸料器又称为:星型卸料器、卸料阀,是除尘设备排灰、送风及其他设备给料的主要设备,适用于粉状物料和颗料状物料。
YJD-HX型卸料器工作原理:
卸料器分普通型、耐压型、耐高温型三大类。卸料器可以以匀速驱动,按照控制速率连续排出物料,或者以不定的速度驱动,将卸料器作为喂料机使用;
卸料器普通型:可以用在150度以下及常温的通常物料上,可以连续均匀向输料管内供料,而在系统和分离收尘部,它又可以作为卸料器功能;
卸料器耐压型:它采用封闭型转子,可以广泛用在吸送式、压送式气流输送系统和负压输送设备上,旋转卸料器可以保证输送管内的气流压力不泄漏,能够安全的输送和收结物料,所以在这方面称为万锁气器,它不但可以耐压,同时兼备普通型功能。
YJD-HX型卸料器特点:
(1)卸料器通过采用行星转动原理,输入输出在同一轴线上,而且有与电机直联一体的独特性,因而结构紧凑造型美观新颖、体积小、重量轻.
(2)卸料器运转可靠平稳、噪音低、故障少、寿命长、齿合件采用球墨铸铁与轴承钢等.使用性能好、耐磨性高.
(3)轴承、齿箱、远离阀体、避免高温灰尘的影响,前后端盖密封性能好,防止灰尘外泄,延长机动件、润滑系统的使用寿命.
(4)卸料器具有过载能力强,耐冲击惯性力矩小,适用于起动频繁和反正转.
(5)用户如需特种规格,电机、链轮传动等卸料器,均可制做.
卸料器能力计算方法
<Capacity calculation method>
W:卸料量(m3/h)
V:转子的容积(l/rev)
N:转子的转速(rpm)
η:转子的容积效率(%)
W:Dishcharge(m3/h)
V:Rotor volume (ι/m3/rev)
N:Rotor speed (rpm)
η:Rotor volume efflcency(%)
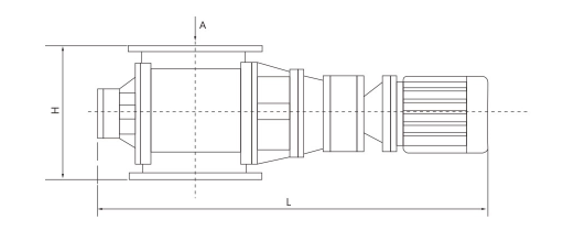
YJD-HX卸料器产品示意图:








YJD-HX卸料器转子形状:

叶子为直线形,一般适用于粉体情形 The blade is stalght ,and this type is used for general powder

叶片为直线型,叶片上加装耐磨刀片,可有效防止大颗粒料输送时的卡料及对机体的磨损。
straigtline type vane, equipped with wear-proof elastic blade,effectivelyavold large grins from being wedged into maching and damage to mahcine
when material is conveyed. 

叶片制成人字形,这对于颗粒输送是有效减少机壳之间卡料的措施之一。
The blade is of a double-helical type .When hard granules are used in paticular, thistype substantially reducesbetween the rotor and casing ,which is effective for prevention
of granules blting.
YJD-HX卸料器主要技术参数 Main Techanical Variables
瑞安市天蓝环保设备有限公司主营:卸料器、卸灰阀、旋转阀、卸料阀、关风机等系列产品,“天蓝环保、净化全球”,客服热线:0577-65007068


浙ICP备16043010号-4